3 Attachment(s)
Simple Rack and Pinion Zero Backlash (no springs)
Hi Guys,
I was getting ready to share my "great invention" with you when I decided to do a patent search. Sure enough, someone had a similar idea way before I did :) On the positive side, it will spare me from a lengthy write up.
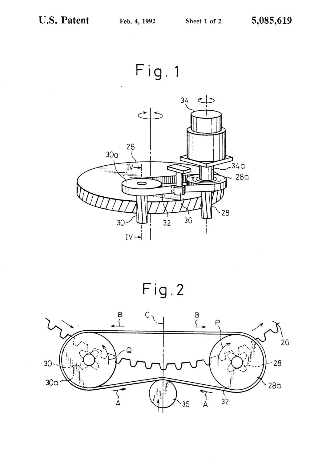
The patent has now expired so if you are looking for a simple belt reduction with zero backlash between the pinion and the rack check this out. It considers gear on gear but you can substitute the large gear (26) with a rack and two pinions (28 and 30).
The principle is that you have two pinions riding on the rack with each of them having an opposite tooth pre-load applied by the tension of the belt. Each time direction change occurs, the preloaded tooth/pinion drives the rack so no backlash. There are no torque limitations, which can be a problem with split pinion system demanding high accelerations.
Attachment 25660
Instead of driving one of the pinions (28) directly, as illustrated, I have a small pulley driving the two larger pulleys via a belt which offers 1:3 reduction.
Attachment 25662
I made a 3d printed prototype, which works great. Iill be ordering the machined parts soon.
Attachment 25661
The green idler barely touches the belt. The red and motor pulleys are the ones providing tension for tooth engagement on the respective pinions.
Re: Simple Rack and Pinion Zero Backlash (no springs)
Any reason for preferring this to an anti-backlash gear?
Re: Simple Rack and Pinion Zero Backlash (no springs)
Quote:
Originally Posted by
deemoss
Hi Guys,
Attachment 25661
The green idler barely touches the belt. The red and motor pulleys are the ones providing tension for tooth engagement on the respective pinions.
I would have thought that the green idler removes the backlash with the red idler providing belt tension. I designed a somewhat similar layout for a servobelt drive I built.
Re: Simple Rack and Pinion Zero Backlash (no springs)
Mechanically there's no significant difference between this and a split pinion apart from the fact that you get a "gearing up" of the spring force due to a) the wide angle of the belt between the main gears and the tensioner and b) the ratio of the belt diameter to the gear diameter. This results in not needing such a beefy spring. However you can also vary the preload tension more easily than with a split pinion as the spring is external. It's rather like a spilt pinion with the pinions moved apart on the driven gear
It wouldn't be difficult to calculate the equivalent torsional preload effect at the driven gears. Yes, the green pulley removes the backlash between the big gears and the red one tensions the motor pulley.
Re: Simple Rack and Pinion Zero Backlash (no springs)
Quote:
Originally Posted by
magicniner
Any reason for preferring this to an anti-backlash gear?
One issue with anti-backlash gear is that going one direction the force is transferred directly from tooth to tooth, going the other the force goes through the spring. Another issue I had when considering anti-backlash gearing was sourcing a suitable sized gear (I needed small for reduction).
Re: Simple Rack and Pinion Zero Backlash (no springs)
Quote:
Originally Posted by
johnsattuk
I would have thought that the green idler removes the backlash with the red idler providing belt tension. I designed a somewhat similar layout for a servobelt drive I built.
The green pulley does nothing to the principle of operation. You could theoretically remove it and have some slack at the top part of the belt. This slack would never stretch since the pinions engage the same rack, which prevents them from rotating in opposing directions (which would take the top slack). The only reason for the green pulley is to prevent this slack to bounce up and down.
Re: Simple Rack and Pinion Zero Backlash (no springs)
Quote:
Originally Posted by
Muzzer
Mechanically there's no significant difference between this and a split pinion apart from the fact that you get a "gearing up" of the spring force due to a) the wide angle of the belt between the main gears and the tensioner and b) the ratio of the belt diameter to the gear diameter. This results in not needing such a beefy spring. However you can also vary the preload tension more easily than with a split pinion as the spring is external. It's rather like a spilt pinion with the pinions moved apart on the driven gear
It wouldn't be difficult to calculate the equivalent torsional preload effect at the driven gears. Yes, the green pulley removes the backlash between the big gears and the red one tensions the motor pulley.
Actually you don't need to calculate the tension force. This is because the tooth-to-tooth force is not going through a spring. The belt tensioning force need only be such that facilitate the "touching" of the teeth of the respective pinions in each direction.
Re: Simple Rack and Pinion Zero Backlash (no springs)
Quote:
Originally Posted by
deemoss
Actually you don't need to calculate the tension force. This is because the tooth-to-tooth force is not going through a spring. The belt tensioning force need only be such that facilitate the "touching" of the teeth of the respective pinions in each direction.
If you have no preload tension, then by definition you have some backlash in your system. There are 2 approaches to this - either a spring tensioner to maintain a tight belt / chain and take up any wear or unevenness - or a fixed tensioner. With the latter, you will always end up with some backlash. With the former, you must ensure the preload tension exceeds the maximum drive tension. You seem to have the latter but either means could be used here.
You get the same result with a dual pinion setup if you have an adjustment screw between the pinions, rather than a spring. That's essentially what is used on horizontal milling machines that have a backlash adjustment.
Re: Simple Rack and Pinion Zero Backlash (no springs)
The issue with most racks, is the teeth are rarely perfect for the entire length, especially once you get some wear, so you need some kind of sprung tensioning system to minimise backlash, while avoiding excessive binding.
The system here, once adjusted correctly will likely have enough spring due to the belt flex to deal with some backlash.
.
However, you have to put things in context. If you want precision with minimal/no backlash, rack and pinion is not the ideal choice.