Thread: PWM Settings
Hybrid View
-
14-02-2017 #1
This is my first post on this forum, sorry if I’m in the wrong section
I have built a 3 axes 4 motors new cnc all in aluminum with a Chinese VFD (1.5kw, 13A, 400Hz, 120VAC input) and a Chinese water cooled spindle (800W, 400Hz, 24000RPM). I’m using Mach3 and the Gecko G540 controller. All my settings are for PWM.
All is working fine but the only problem I have is with the spindle calibration. I have checked the VFD and on local control when I press the RUN it goes up to 400Hz, 24000 RPM, and the voltage on the VR(+10V) terminal is 9.88v. On the G540 the voltage on terminals 7&8 varies depending on the speed I ask.
I input on Mach3 M3S6000 and the VFD shows 11300 RPM / 188Hz, the volts on G540 T7/T8 = 2.42v
I input M3S12000 and the VFD shows 15398 RPM / 256Hz, 4.81v.
I have been playing with all the Mach3 settings for about 2 weeks now with no success. I don’t want the VFD to be exactly on but right now the difference is way out.
Perhaps someone on this forum knows what I’m missing
Nicolas
-
14-02-2017 #2
I have sometimes wondered how these things work at all. The Gecko output is a PWM signal. That is, a series of pulses that are on for some percentage of the time and off for the rest. The idea is that the average is equivalent to the desired speed. 10% on-time give 1V average; 50% on-time gives 5V average, and so on. The Gecko also has an opto-isolated "analogue" (actually, pulsed digital) output, which is a good thing. I get the impression that a lot of North American users use DC motors and associated controllers. The Geckos are probably going to work fine with a DC motor controller as the motor will average out the pulses. However, the area of uncertainty is with a VFD. This has an analogue input that is going to turn the analogue input voltage into the equivalent frequency and hence motor speed. But the VFD isn't seeing a constant input voltage, slowly changing as speed required changes. What it does see is sometimes a "high" voltage pulse, sometime a "low" voltage, changing between the two at maybe 1KHz, but never a real analogue input. I don't know if there is any smoothing being done anywhere to effectively convert the PWM signal into an analogue voltage. I know that this does work for other combinations of hardware (my IP/M works fine with a typical Chinese VFD and plenty of people use this kind of setup) but given that the target market for Gecko is possibly not primarily focused on the VFD user but the DC or similar motor controller user, I wonder if there is some kind of incompatibility here. Could be easily fixed, I would suspect, with a suitable capacitor across the analogue output to smooth the output pulses. Unfortunately, measuring the "analogue" voltage with a digital meter is likely to be equally misleading as the meter's sampling circuit is also going to get confused (but might well see something different to the VFD). A traditional analogue meter would show a better approximation.
Personally, and if you don't have an oscilloscope to actually see what's happening, then I would stick a 10uF capacitor across the analogue output to smooth the pulse stream and see what happens. Can't believe that it would do any harm but might help.
Or maybe it's something else completely. A Google search suggests that this can be a problematic area with the Gecko, but they aren't widely used in the UK/Europe based on typical machine descriptions on this forum. I'm assuming that you are taking +10V from the VFD to the Gecko?Last edited by Neale; 14-02-2017 at 09:47 PM.
-
14-02-2017 #3
-
14-02-2017 #4
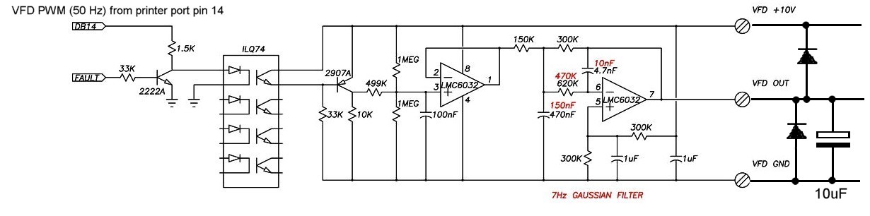
If that's what's inside the G540, then clearly there is an appropriate low-pass filter that should take out the worst of the ripple and leave a reasonably clean analogue output. In that case, the 10uF capacitor is not needed. And the OP's problem lies elsewhere...
-
15-02-2017 #5
I expect the G540 PWM circuit was designed replace the 5K potentiometer speed control for the original speed control boards as used in the machines like my old machine mart CL300M lathe
see this post
http://www.model-engineer.co.uk/foru...s.asp?th=38809
John
PS
the G540's PWM circuit was posted in a reply by Geckodrive
(Marcus Freimanis I think )Last edited by john swift; 15-02-2017 at 12:29 AM. Reason: add PS
-
15-02-2017 #6
As I told you on the Mach3 forum, you have Mach3 and the G540 working correctly.
The problem is that your VFD is giving you the wrong frequency.
2.42Volts on the analog input should be roughly 100Hz (96.8).Gerry
______________________________________________
UCCNC 2022 Screenset
Mach3 2010 Screenset
JointCAM - CAM for Woodworking Joints
-
15-02-2017 #7
-
15-02-2017 #8
-
15-02-2017 #9
I also found these
10mF 50VMP, IEC NP 4.7MFD 50V, IEC NP 16MFD 50V
-
15-02-2017 #10
No, the Gecko output is already filtered so you do not need capacitors of any value. Looks like the output voltage of the Gecko is about right anyway for the speeds demanded so looks more like a VFD issue. My HY VFD works fine with reasonable linearity so maybe there are some other parameters that can affect this?
Thread Information
Users Browsing this Thread
There are currently 2 users browsing this thread. (0 members and 2 guests)
Similar Threads
-
Mach 3 default settings,
By chris w in forum Artsoft Mach (3 & 4)Replies: 4Last Post: 08-01-2016, 01:54 PM -
Saving machine settings between sessions
By Neale in forum Machine Control SoftwareReplies: 19Last Post: 07-05-2014, 08:17 PM -
Pulse rate or dip switch settings
By Jopo in forum Stepper & Servo MotorsReplies: 0Last Post: 29-04-2013, 08:08 AM -
Help with settings!
By Tenson in forum General DiscussionReplies: 26Last Post: 30-09-2012, 11:26 PM -
Calculating torque settings for bolts.
By swarf-boy in forum Machine DiscussionReplies: 2Last Post: 22-12-2010, 12:18 AM



Reply With Quote


Bookmarks