Hybrid View
-
09-01-2016 #1
Hi there
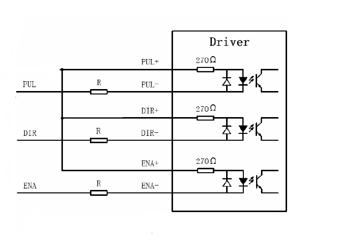
I've got generator module and stepper driver connected with two power source 24v(driver) and 5v(generator) like in the picture
I use PUL-, DIR-, and ENB-, 3 cables connected to the M542 driver
In this setup I should join all pluses together and connect to common anode(+)
I do not why but everything works without this cable - common anode(+).
I am confuse here. I send only positive signals to the module
I can change direction of the motor (DIR) and switch on/off the motor (ENA)
Not the same situation if I use only PUL+ DIR+ ENB + without common cathode this time(-).
Without common cathode I can only run one direction (like having only PUL+ and (-)cathode or PUL- and (+)anode two cables connected)
I can have on/off function (ENA, because module send HI signal and disable(off) the driver.
I know that signal I get is PWM square wave, multimeter allows to check polarity of such a signal (all + or -)
Can anyone explain how this works please, many should benefit too.
System got all function start/stops using ENA and Direction using DIR all done by 3 cable connected to (-) without having common anode(+)
Cheers
TomLast edited by Tom J; 10-01-2016 at 02:02 PM.
-
09-01-2016 #2
You only need pulse and direction signals, when step pulses are applied with a direction signal also applied the motor will run in the opposite direction to that in which it runs without the direction signal.
Last edited by magicniner; 09-01-2016 at 10:14 PM.
-
10-01-2016 #3
Thanks magicniner, that part I understand.
I modified my first post as wasn't clear.
DIR signal Hi 5v change motor direction, same Hi signal 5V on ENA input disable drive (so system can ran without ENA as LOW signal is needed to run, but we loose on/off function)
My question was why everything works when PUL- DIR- ENA- are connected without common anode(+)
but when using only PUL+ DIR+ ENA+ without common cathode only ENA function works (start/stop) direction switch switching everything off as has missing common cathode(-). When cathode is connected all works as should.
-
10-01-2016 #4
Have you tried not using the enable? It typically needs to be low for the drive to be enabled and high to be disabled.
https://emvioeng.com
Machine tools and 3D printing supplies. Expanding constantly.
-
10-01-2016 #5
yes komatias, I tried not to use enable and works all the time without on/off function as described in first post.
Than I use only PUL- and common anode and works or PUL+ and common cathode.
I checked again the signals and if I use only PUL and DIR or PUL and ENA from generator module (so motor runs in one direction) than all those signal have positive potential against common cathode i.e. When I check them between each other one is plus other minus - and that is why this works i think. I missed that bit when I checked option with 2 or 3 cables connected to PUL DIR ENA without + or -. What I knew was that whatever signal is send has to have opposite polarity (when 2 cables PUL- ENA or DIR has + and oposite)
-
10-01-2016 #6
Hi Tom3
the M542 stepper drive enable is a negative logic input
the driver is enabled by no input to the enable terminals !
(+EN &-EN being at the same voltage or left disconnected )
do you have a link to the instructions for the pulse generator ?
its not obvious from the picture the function of the terminals you have connected to the stepper driver
since the M542 driver +ENABLE , +PULSE & +DIRECTION terminals are linked they should be connected to +5V from the pulse generator
grounding the -ENABLE will DISABLE the driver
John
PS
now I can see and edit my first post
the stepper driver opto isolator LED's have a diode in inverse parallel
with the three positive terminals linked
if the - direction is at a logic 1 (+5V) for example
the - enable and - step inputs will appear to work until the - direction is switched to logic 0 (0V)
Last edited by john swift; 11-01-2016 at 11:37 AM. Reason: add diagram
-
The Following User Says Thank You to john swift For This Useful Post:
-
10-01-2016 #7
I'm guessing that you've followed the "Typical Wiring Diagram" in the manual which doesn't take into account that some Break Out Boards have their own Pull-Up/Pull-Down built in and just need Step Signal, Dir Signal and (Optional) Enable Signal?
If your Driver has Pull-Up/Pull-Down you could be swamping your controller with twice the Pull current required ;-)Last edited by magicniner; 10-01-2016 at 05:23 PM. Reason: Change "BOB" to "Driver"
Thread Information
Users Browsing this Thread
There are currently 1 users browsing this thread. (0 members and 1 guests)
Similar Threads
-
How do I wire a stepper driver to a stepper motor?
By swood1 in forum Stepper & Servo MotorsReplies: 7Last Post: 21-09-2014, 05:40 PM -
Stepper Motor Driver - cheap similar to ArcEuro 4.2A Bi-Polar Stepper Motor Driver
By craynerd in forum Motor Drivers & ControllersReplies: 1Last Post: 16-03-2014, 07:29 PM -
Running a three phase router/mill on a generator?
By gavztheouch in forum General ElectronicsReplies: 3Last Post: 19-02-2013, 12:39 PM -
WANTED: stepper driver module
By tinshak in forum Items WantedReplies: 0Last Post: 16-01-2013, 09:31 AM -
Stepper motor as a generator??
By wiatroda in forum General DiscussionReplies: 10Last Post: 08-08-2011, 10:17 PM



Reply With Quote


Bookmarks